2021年7月13日星期二

亚马逊惊现大批白嫖订单!背后竟然有专业团队操作


近期有亚马逊卖家爆料称,在结算的时候发现到账明显不对,一查之下惊讶地发现,店铺竟然多了大量的只退款不退货的白嫖订单!

这种直接退款的订单收不到任何的退货,相当于顾客选了个理由直接就留下了产品不用付款,卖家实打实被坑掉了产品。而且大量出现白嫖订单的还不在少数,我们群就又不少卖家在反映这个情况,亚马逊可太坑了!

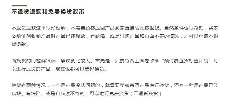
这个情况其实我们很早之前就已经和大家讲过了,在3月份亚马逊宣布退货政策进行更新,增加了自配送预付费退货政策,以及不退货退款和免费换货政策


其中不退货退款政策其实要求比较苛刻,需要买家提供证明收到产品时产品已经破损、残缺或是于产品页面内容不符,经过审核之后亚马逊才会同意不退货退款。

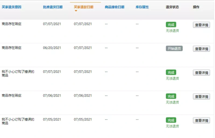
而在开头的途中大家可以看到,申请不退货直接退款的可不止这几个理由,比较明显的就是有两个"不小心订购了错误的产品",这种买错的退款理由为什么也能申请直接退款呢??


我用公司自养的买家号研究了一下,在选择退款理由之后,还需要选择退货方式,而这一栏中消费者仍然可以选择"无法退货"。所以说不管你是什么理由提出的退货申请,都可以申请不退款退货。


放在以往这样的申请肯定是不会过的,而且FBA订单的退货处理都是有亚马逊专门售后团队负责处理的,这样的事以前很少发生,即便有也只是个例。


奇怪的是,该政策其实是4月中旬就生效的,为何在7月初集中爆发了呢?


退货新政遇上会员日退单潮


联系一下6月末有什么大事,大家不难想到,正是亚马逊每年一度的重要大促节日,会员日Primeday就安排在了六月末。而老卖家都知道,每年会员日结束之后,都会有一大波退货潮,很多在大促节日中冲动购物的消费者会选择退回商品。

而亚马逊此前曾经因为这个缘故,为了吸引更多消费者在大促日冲动消费,延长了大促后可以退货的时限,在去年黑五网一时候,甚至延后了一个月之久,大促订单在一个月内都可以退货退款。当时就有不少卖家因为这个改动大喷亚马逊,为了讨好消费者不要底线。


在今年这次会员日中,亚马逊同样也有延长退货政策,甚至不只是延长期限这么简单。我们可以进一步推测一下,再长的退货期已经起不到刺激购物的作用了,亚马逊为了进一步刺激冲动消费,而对整个退货审批进行了"放宽标准"或者是出现了审批漏洞,这才让买错产品这种理由也能不退货退款!


当然,如果只是亚马逊方面审核上的漏洞,还不足以造成这么多激增的不退款退货,毕竟大部分消费者还是会用正常的退款退货流程,那么问题还有哪里??


我调查了一下惊讶得发现,海外正有一群人盯着我们电商卖家,利用亚马逊审批的这个漏洞大肆恶意退款。


不退货退款背后的团队操作


我从外媒的渠道了解到,近期美国卖家也有很多向媒体反映遇到大量恶意退款的情况,而调查后发现,竟然有一批人,专门在购物之后利用亚马逊的漏洞恶意退款不退货!等于白拿了商品!

原文转载:http://www.shaoqun.com/a/873504.html

跨境电商:https://www.ikjzd.com/

c2c模式:https://www.ikjzd.com/w/1576

aicpa:https://www.ikjzd.com/w/1373

败欧洲:https://www.ikjzd.com/w/1555


近期有亚马逊卖家爆料称,在结算的时候发现到账明显不对,一查之下惊讶地发现,店铺竟然多了大量的只退款不退货的白嫖订单!这种直接退款的订单收不到任何的退货,相当于顾客选了个理由直接就留下了产品不用付款,卖家实打实被坑掉了产品。而且大量出现白嫖订单的还不在少数,我们群就又不少卖家在反映这个情况,亚马逊可太坑了!这个情况其实我们很早之前就已经和大家讲过了,在3月份亚马逊宣布退货政策进行更新,增加了自配送预
西农:https://www.ikjzd.com/w/1368
泡海洋温泉有什么好处?:http://www.30bags.com/a/400216.html
泡泡糕:胜似牡丹花 - :http://www.30bags.com/a/406033.html
泡汤拒绝人挤人!这些原生态的温泉美如画:http://www.30bags.com/a/225683.html
泡温泉必须注意的事项有哪些?:http://www.30bags.com/a/398371.html
酒吧被陌生人带去卫生间啪到腿软 被陌生人做站不起来:http://lady.shaoqun.com/a/247291.html
学长大人上课和我做 学长的巨大在我体内进进出出:http://lady.shaoqun.com/a/247506.html
男人撕开奶罩揉吮奶头 我都说疼了他还在继续:http://www.30bags.com/m/a/249804.html
不注意这点,订单再多也是白干!原来跨境大卖们在用它……:https://www.ikjzd.com/articles/146592
女人偷偷和同事在野外约会"亲密"老公用卫生纸抓奸(图):http://lady.shaoqun.com/a/418109.html
90%的男生阅历很深,女生有那么多"随便"的意思?:http://lady.shaoqun.com/a/419109.html
轮皮公园成了"野战圣地",曼谷政府严惩讲和的公共场所!:http://lady.shaoqun.com/a/419110.html

没有评论:

发表评论